钢筋混凝土分荷结构在房屋平移中的应用
- 东莞至惠州城际铁路隧道安全风险评估与管理
- 高层建筑给排水系统安装施工技术
- 高层建筑施工质量的五个控制要点
- 房屋建筑工程质量问题、原因和防止措施
- 地下停车场防水工程施工质量预控措施
- 试析绿色施工技术在建筑工程中的应用
- 施工企业预算管理措施及案例分析
- 岩溶地区隧道施工综合预报技术案例分析
- 预制块镶面现浇混凝土隧道洞门施工方法
- 建筑施工模板应用技术简析
内容提示:结合工程实例,介绍了六层框架结构整体平移的设计与施工过程,首创了“钢筋混凝土分荷结构”,解决了柱荷载大而集中的问题。并应用先进的PLC同步控制系统,使房屋最后精确平移就位。
摘要:结合工程实例,介绍了六层框架结构整体平移的设计与施工过程,首创了“钢筋混凝土分荷结构”,解决了柱荷载大而集中的问题。并应用先进的PLC同步控制系统,使房屋最后精确平移就位。
关键词:分荷结构 框架结构 结构托换 整体平移
1.工程概况1.1建筑概况
天津众美制衣综合楼原为津东农工商营业楼,建于1992年。为6层钢筋混凝土框架结构(见图一),北侧后门正中有运货电梯一座,东西两侧各有一道人行楼梯。建筑物东西长43.08m,南北长27.65m。除一楼层高为5.4米,6楼层高3.9米外,其余各层的层高均为4.5米,大楼总高27.9米,建筑总面积约5200平方米。根据规划需要,大楼整体向北平移35m,迁移总重量约为10346吨。(图二)


图一 房屋原貌 图二 平移示意图
原大楼A轴为一层裙房,A轴柱下为条形基础,采用倒T形断面,梁高0.8m,板厚0.3m,梁宽0.5m,板宽1.5m。(参考《建筑中文网》)
B~F轴采用C30钢筋混凝土梁板式筏板基础,主梁断面高1.4m,宽0.8m,梁底相对标高-2.100m。次梁断面高1.3m,宽0.7m,梁底相对标高-2.100m,筏板厚0.4m,板底相对标高-1.700m,筏板在基础周边还伸出轴线外2.5m。基础梁板下均设0.1m厚的C10素混凝土垫层。(图三)
| |
| |
图三 基础平面示意图 | 基础断面示意图 |
根据地勘报告,地质情况如下:层底标高0.1~1.89m为人工填土层;0.47~1.33m由坑底淤泥组成;-1.40~-2.12m由粘土和亚粘土组成,可做建筑物的持力层;-11.01~-11.82m主要由灰色亚粘土、轻亚粘土组成。
本场区地基土的容许承载力[R]值,在标高-1.63m以上天然土(不包括坑底淤泥)[R]=120KPa;在标高-1.63~-7.13m,[R]=100KPa;在标高-7.13~-11.82m,[R]=120KPa;在标高-11.82~-13.72m,[R]=140Kpa。
2.分荷结构要使房屋移动,必须将其由原基础托换到可移动的上轨道结构体系上。 在上轨道结构体系设计中,将框架柱的集中荷载转换为上轨道梁对下轨道梁的分布荷载,这对于柱荷载较大、地基承载力较低、移动距离较远的下轨道结构体系及其基础的设计是经济的、合理的。若仅依靠上轨道梁自身进行此荷载的转换,不但需加大上轨道梁的截面,而且还因梁的变形使荷载分布不均,柱下荷载偏大,跨中荷载偏小,荷载转换的效果不甚理想。因此合理的选择是采用分荷结构,将柱荷载经分荷结构传至上轨道梁,然后近似转换为均布荷载,通过移动装置作用于下轨道梁上。
天津津东农工商营业楼平移工程中,由于柱荷载较大,个别荷载达到4500KN,φ73mm滚轴需按20cm的间距密布,而上轨道梁受室内地坪至主梁顶的高差限制,梁高只有500mm,
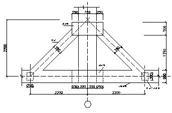
必须设置分荷系统,才能满足承载要求。经过多方案的比选,放弃了传统的钢结构分荷形式,开发应用了“钢筋混凝土分荷结构”。(见图四)

“钢筋混凝土分荷结构”是由框架柱前后侧对称设置的钢筋混凝土分荷斜柱和斜柱上部的钢筋混凝土抱柱箍组成,并与框架柱及上轨道梁连成完整的一体,提高了分荷结构的节点刚度和传力的可靠性。斜柱底部将上轨道梁三等分,缩短了上轨道梁的跨度,有效减少了上轨道梁的内力。斜柱顶部不像传统的分荷方法支于一层楼板框架梁的底部,而是通过抱柱箍作用于框架柱的中下部,减少斜柱长度,既提高斜柱受压稳定的性能,同时也增加了上轨道梁的侧向刚度和抗扭刚度。由于整个结构高度较低,方便了施工和平移过程中的监测。
3.方案设计3.1新址基础设计新址地质勘察报告所揭示的地层,与原大楼地基地质勘察报告所揭示的基本相似,新址报告中所示该场地地基土基本值与原报告中地基土的容许承载力基本一致,原大楼采用片筏基础,故在新址仍采用片筏基础应能满足建筑物的承载要求。
新址片筏基础主次梁的布置仍与原址基础一致。XB~XE轴的主梁断面尺寸和配筋与原址基础B~E轴的主梁完全一致。新址柱间次梁及筏板的断面尺寸和配筋与原址的柱间次梁及筏板相同,而新址柱下次梁按原址柱下次梁的承载能力并结合下轨道梁的构造和承载要求重新设计。
3.2下轨道梁的设计下轨道梁采用钢筋混凝土结构,下轨道梁一方面作为整个房屋平移及托换体系的基础,同时顶推时为千斤顶提供反力。在①至⑧轴上共设8条下轨道梁,下轨道梁从新址基础延伸至反力后背处。原址片筏基础的轨道梁,贴在片筏基础次梁两侧。新址下轨道梁兼作新址片筏基础次梁,新址每条下轨道梁也由两片轨道梁组成。在新旧基础上采用同一类型的下轨道梁对平移的安全性是有好处的。
3.3上轨道结构体系设计上轨道结构体系为钢筋混凝土结构,由上轨道梁、抱柱梁、夹墙梁、分荷结构及连系梁等组成。上轨道结构体系用于承受移动部分的全部荷载,因此它应具有足够的强度、刚度及稳定性。
3.3.1上轨道梁设计上轨道梁采用双侧抱柱梁,采用槽钢与混凝土组合梁结构。与下轨道梁对应,共设8条上轨道梁。上轨道梁兼作一个方向的抱柱梁,按最不利荷载组合、多跨连续梁设计,同时考虑分荷斜梁的水平分力和平移推力引起的轴向力,每条上轨道梁为由双肢组成,梁底设[25槽钢部分代替梁底部钢筋兼作平移滑动面,箍筋与槽钢焊接。上轨道梁断面尺寸为250×500mm,顶面标高为-0.011m。
3.3.2抱柱梁设计设计时考虑正截面的的受弯承载力,局部抗压强度及周边的抗剪切强度。直接或通过连系梁与上轨道梁浇筑成整体。经过大量实践及实验证明,采用钢筋砼抱柱梁是进行柱托换的一种较为可靠、安全的形式。
3.3.3夹墙梁设计夹墙梁布置在墙两侧,相互之间通过小系梁连接,确保墙体切断之后承托墙体重量。
3.3.4分荷结构设计在本工程中开发应用“钢筋混凝土分荷结构”来解决柱荷载集中的问题。这种结构相比钢结构更能确保支点的受力可靠性,而且有很好的经济性与施工的便捷性。分荷结构的上部抱柱箍与上轨道梁的抱柱梁同时受力,对柱进行托换,抱柱箍按抱柱梁设计考虑。斜柱按45°设置进行分荷(见图五),按受压杆件考虑,钢筋按构造配筋设计。两侧斜柱间在上轨道梁处通过系梁连结,以增强整体性。“钢筋混凝土分荷结构”的工程成本较钢结构大大减少,但分荷效果较好。


3.4滑动面设计
本工程采用滚动摩擦,滑动面为滚轴对钢板。滚轴采用φ73钢管,管内灌高标号细石膨胀性混凝土,两端钢板焊接封盖。采用钢管砼的优点是受压后有微小的变形,可部分消除因施工精度不足造成的上下轨道梁不平整,保证上滑梁受力较均匀,减少对房屋结构产生不利影响。
3.5顶推设计要使房屋移动,目前有牵引法和顶推法两种。本工程采用顶推法,利用液压千斤顶作为顶推设备,采用目前我公司先进的PLC同步控制系统,使各千斤顶的同步顶推精度控制在2mm以内。因本工程平移距离较远,而千斤顶行程较小,仅为1.2m。所以顶推反力支座采用钢筋混凝土固定支座和钢结构活动反力支座两种形式。平移6.6米距离内采用更换顶铁的方法,每平移6.6米后倒用钢结构活动反力支座。
房屋移动启动时的滚动摩擦系数按0.1考虑,根据各轴线的荷载计算,本工程共采用100t千斤顶6台,320t千斤顶2台。
4.平移效果本工程于2004年7 月26 日开始平移,于2004年7月31日平移到位。开始启动时采用分级加载的方法。按照各轴线的荷载,分别按摩擦系数为0.02、0.03、0.04直至0.1取值计算出理论推力,然后由控制系统确定应提供的油源压力值。这种方法可以很好的保护房屋结构,避免突然的启动产生较大的加速度。实际顶推时,摩擦系数为0.04。顶推速度平均为2cm/Min,房屋一天平均移动约8米。就位横向偏差为3mm。
平移过程中“钢筋混凝土分荷结构”达到均布柱荷载的设计效果。截面为250×500mm的上轨道梁,除前端由分荷斜柱引起的水平拉力,按拉弯结构设计的部分出现受拉裂缝外,其它上轨道梁部分均完好无损。
来源: 《建筑中文网》.原文网址:http://www.pipcn.net/research/200603/8526.htm
也许您还喜欢阅读:



