局部暗塘的锚杆静压桩基础设计
- 低碳节能建筑设计的相关问题及解决方法
- 江苏建筑职业技术学院图书馆设计文化理念
- 四川雅安名山县涌泉村抗震小学的设计理念
- 四川汶川5.12大地震的启示
- 汶川大地震震中纪念馆的创作思考
- 洛阳洛南新区雅安新城结构设计
- 绿色居住建筑的节地设计
- 广州珠江新城海心沙地下空间建筑设计方案
- 黔东南地区郎德苗寨民居的热适应性
- 西气东输工程中长输管道站场建筑模块化设计与应用
摘要:通过对某宿舍楼在控制沉降差的前提下提出同一建筑物下局部设桩基的基础方案。(参考《建筑中文网》)
关键词:锚杆静压桩 逆作法 桩土共同作用 设计 施工
一、工程概况
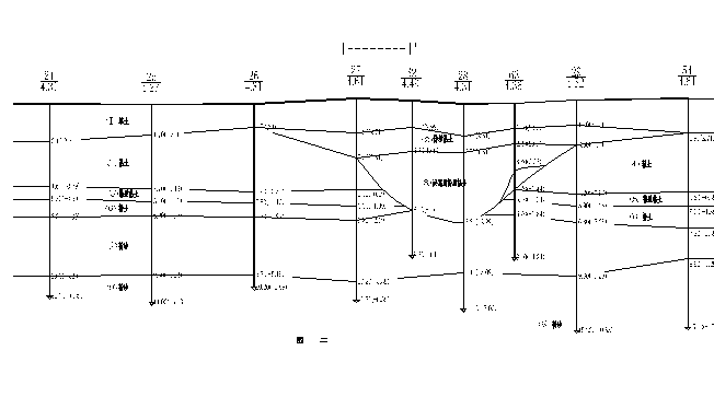
宿舍楼位于某学院新校区西北角,总建筑面积17138平方米,4幢宿舍楼为六层砖混,层高3.2m,平行布置,勘察揭示有暗河道南北蜿蜒横穿见图一,典型地质剖面见图二,土性特征见表一。场地好土区土质良好,地基承载力高,暗河道区土性差异较大,分布复杂,另建筑平面布置未考虑设沉降缝,这给基础设计带来很大困难。

二、基础选型分析
由于工期紧迫,业主希望设计方提供工期短又相对经济的基础方案。好土区的④层粉质粘土承载力很高, 承载力标准值达270kPa,利用好④层土是经济与否的关键。暗河道区③层软土的深5米左右

如采用换填方法工程量较大,采用粉喷桩或深层搅拌桩等方法无法将承载力提高与④层土相当,且沉降难以控制,经综合分析,好土部分采用普通条基,而暗河道区采用长短变化的200x200锚杆静压桩,考虑桩土共同作用,桩长5-7.5米,2.5米一节,交界处用2.5米短桩过渡,逆作法施工,二层楼面浇完后开始压桩。
三、地基变形分析和基础设计
根据桩基逆作法施工顺序,可将基础受力分为两个阶段。第一阶段地基承受基础理及上部已建n1层结构自重和施工荷载P1,相当于一般浅基础,第二阶段桩间土和桩共同作用承担上部P1及后增荷载P2.

在P1作用下,此时基础沉降STi,若不压桩其最终沉降量STF,压桩后基础的刚度增加,此时基础的最终沉降S1计算如下
S1=STi (Kr /Kpr)。( STF- STi)(1)
式中,S1为P1作用下基础的最终沉降
STi为封桩前基础沉降,STF为不压桩浅基础的最终沉降
Kr为浅地基的刚度, Kpr为压桩后地基的刚度
压桩后浅基础上的荷载向桩上移,桩上分担的荷载
PP1=λ。[( STF- STi)/ STF].P1(2)
式中,λ为考虑桩土共同作用时桩承受荷载分担比例, (2)式可转化为下式
PP1=λ。(1-μi)。P1(3)
μi= STi/ STF,μi即为Ti时刻基础下土的固结度
在建造到n1层压桩、封桩的同时,上部结构施工仍然同步进行,后增荷载P2引起的考虑桩土共同作用的基础沉降量
S2=(P2 /P1)。(Kr /Kpr)。( STF- STi)(3)
式中, Kr/ Kpr为压桩前后地基的刚度比,其中天然地基土刚度Kr的弹性力学公式为
Kr= ES/[(1-υ2)。w.b]
υ:泊松比
w:矩形基础中心点沉降影响系数[5]
ES: 地基土的弹性模量
b:矩形基础的宽度或圆形基础直径
根据剪切传递法得压桩后地基刚度
Kpr= GSr0[
]/Rs
Rs:群桩的沉降比
GS: 地基土的剪切模量, GS= 0.5ES /(1 υ)
r0: 桩身等效半径
rm: 桩的影响半径,取rm=20 r0
L: 桩长度
η: 桩入土深度影响系数,一般η=0.85∽1.0
P2作用下桩顶分担荷载
PP2=λ。P2
另外大量预制桩压入土中导致土体产生一定的隆起量,须考虑地基土抬起量S3.
根据上述分析本工程基础设计计算如下:
1. 二层楼面浇完后封桩前基础设计
好土区基础宽1.5m,暗河道区基础宽1.8m,基础埋深1.5米,取典型横墙下基础,在两层结构自重和施工荷载下,好土区P1 =83kN/M2; 暗河道区P1=74kN/M2,基础反力均小于地基承载力设计值f.
用分层总和法计算好土区最终沉降量STF=24mm,两层施工工期约三个月, 固结度μi约为0.6此间完成沉降量STi=15mm左右,而暗河道区最终沉降量STF =63mm,固结度μi约为0.25施工期间成沉降量STi =16mm左右,沉降比较均匀。
2.三层楼面浇完前须完成50%的压桩和封桩,五层楼面浇完前须完成100%的压桩和封桩,暗河道区后增荷载P2=89kN/M2,桩顶分担荷载PP和基础分担荷载P分别为
PP= PP1 PP2=λ。(1-μi)。P1 λ。P2
=0.85.(1-0.35)。74 0.85.89=116.5 kN/M2
P= P1 P2-PP
=74 89-116.9=46.5kN/M2
μ:基础下土固结度,取0.35
λ:考虑桩土共同作用桩上承受荷载分担比例,取0.85
P<f/2.
用分层总和法计算好土区最终沉降量61mm,施工期间完成沉降量36mm左右,而暗河道区浅基础上的荷载向桩上转移,建筑物最终沉降量减少,考虑压桩后基础有所上抬,最终沉降量
S= S1 S2- S3
=[STi (Kr /Kpr)。( STF- STi)] [(P2 /P1)。(Kr /Kpr)。( STF- STi)]- S3
=[16 0.25.(63-13)] [(89/74)。0.25.(63-13)]-5=39mm
经计算 式中Kr/ Kpr=0.25,压桩后基础上抬量按经验取5mm.最终沉降量差值22mm,施工时根据暗河道截面情况采用变化的桩长,以防止沉降发生突变,沉降差满足规范要求。
1号楼基础平面示意图见图三

3.承台及锚杆设计
(1)承台设计:好土区基础按普通墙下条基计算,暗河道区按 使用阶段基底反力及桩顶反共同作用计算,孔边设加强筋以弥补被切断的受力钢筋,加强筋贯通布置。
(2)锚杆设计:
①自身承载力验算
K.Pmax<nπ。(d2/4)。R
式中,K为安全系数,取K=1.2; Pmax为最大压桩力;n为每个桩孔预埋锚杆数; R为锚杆抗拉强度; d为锚杆净直径。
②锚固强度验算
Pmax≦nπdh[r]
式中, h为锚固深度; [r]为锚杆与混凝土粘结强度,取决3MPa经计算采用M24锚杆。
四、施工要求
本工程桩小数量多,为防止挤土效应及基础板受力突变,施工采用分批分点压、封桩,靠近交叉墙处先压先封,压完50%后,进行第一批封桩,剩下压桩分成几个小区,每个小区分散、多点流水压桩。
压桩用桩长和压桩力两个指标来控制,当桩长未达到要求而压桩力达到要求时,即可认为满足要求,压桩要结合沉降观测结果,在施工过程中,作流程和时间上的调整。
五、结束语
局部采用逆作法施工考虑桩土共同作用的锚杆静压桩基础,大大减少了施工工期和噪音污染, 而且锚杆静压桩受力明确,桩身质量好控制;采用分阶段验算沉降差将其对结构不同阶段的不利影响控制在允许范围之内。本工程已主体验收完毕,沉降观测结果与计算值基本相符。
参考资料:
[1] 叶书麟地基处理工程实例应用手册 1998
[2] 冶金工业部建筑研究院编锚杆静压桩技术规程(YBJ 227-91)
[3] 上海市标准地基处理技术规范(DBJ08-40-94)
[4] P Clancy and M F Randolph. Simple Design Tools for Piled Raft Foundation[J].Geotechinqe 1996.46(2)a
[5] 扬位洸地基及基础 1998
[6] 中国建筑工业出版社桩基工程手册 1995
[7] M Makarchian and H G ploulous.Simplified Method for design of UnderpinningPiles[J].G.T.ASCE,1996,122(9):745-751
[8] Khoriskoshi and M F Randolph.A Contribution of Optimum Design of Piled Raft[J].Geotechnique,1998,48(3)。
作者:林勇
来源: 《建筑中文网》.原文网址:http://www.pipcn.net/research/200607/8662.htm
也许您还喜欢阅读:
