砌体结构的一般构造措施
- 低碳节能建筑设计的相关问题及解决方法
- 江苏建筑职业技术学院图书馆设计文化理念
- 四川雅安名山县涌泉村抗震小学的设计理念
- 四川汶川5.12大地震的启示
- 汶川大地震震中纪念馆的创作思考
- 洛阳洛南新区雅安新城结构设计
- 绿色居住建筑的节地设计
- 广州珠江新城海心沙地下空间建筑设计方案
- 黔东南地区郎德苗寨民居的热适应性
- 西气东输工程中长输管道站场建筑模块化设计与应用
内容提示:介绍了已有试验研究成果及工程设计经验基础上新颁《砌体结构设计规范》GB50003第六章涉及的砌体结构整体稳定性措施、房屋的防裂抗裂措施的条文背景,并给出相应的建议或示例,供设计人员参考。
在《砌体结构设计规范》GB50003(以下简称新规范或GB50003)第四章4.1.2条规定:砌体结构应按承载力极限状态设计,并应满足正常使用极限状态下的要求。根据砌体结构的特点,砌体结构正常使用要求,一般情况下可由相应的构造措施保证。这些构造措施包括砌体结构或结构构件的稳定和整体性构造措施、耐久性措施及裂缝或变形控制措施等等。由于砌体结构组成材料的多样性,其相应的构造措施也要比其他材料结构的相应措施看起来显得“繁杂或琐碎”些。多层砌体结构是我国应用最广泛和应用数量最大的结构形式。近年来随着国家墙改推广应用新型墙体材料,由于研究乏力和相应措施的滞后,设计、施工、施工管理的针对性不强,又因系多层结构,对其重视程度不够等因素,致使砌体结构房屋出现了一些带普遍性所谓质量问题,而新型砌体材料较传统砌体材料表现的尤其突出,这在一定程度上影响了新型墙材的顺利推广应用。另外随着国家住宅产业化和商品化的深入,对房屋的建筑结构功能,提出了更高的要求,包括业主的使用要求、设计、施工的责任以及主管部门的监管责任的强化。这其中体现标准强化、管理的措施就是国家已颁布实行的“工程建设标准强制性条文”。这对全面提高工程质量具有重大作用和深远意义。新规范就是根据这样的背景,总结我国近年来试验研究成果、工程经验以及借鉴国外可行的技术的基础上完成本规范的全面修订的。本章的构造要求,和原规范相比虽仍为三节,但其内容已有较大的扩充和变化,有关构造要求的标准也有所提高。限于篇幅,本文着重介绍新增和修改变动较大的那些条文以及被列为强制性的条文,并按“深入浅出”的原则,在简介背景的基础上,力求在执行和应用方面提出注意事项或例证,供参考。(参考《建筑中文网》)
6.1 墙、柱的高厚比
墙、柱的高厚比验算是保证砌体结构稳定性的重要构造措施之一,本次修订因提高了砂浆的强度,本节表6.1.1墙、柱允许高厚比[
]值取消了M2.5以下的数值。墙、柱的允许高厚比与承载力计算无关,主要根据墙、柱在正常使用和施工情况下的稳定性和刚度要求,由经验确定,近年来在理论上进行了报导或论证[1]。
墙、柱的高厚比验算以带壁柱更具代表性,而且包括带壁柱墙的整体高厚比验算和壁柱间墙高厚比验算。设置壁柱的墙又是砌体结构最常用的提高结构稳定性和承载力重要措施。70年代已来构造柱、圈梁系统已成我国多层砌体房屋的最重要的抗震构造措施之一[2]。近年来为提高砌体的结构的承载能力或稳定性而又不增大截面尺寸,墙中的构造柱间距已不仅仅设置在房屋墙体转角、边缘部位,而按需要设置在墙体的中间部位。这样的墙体的稳定性和承载力就成为本规范解决的课题之一[3]。其中带构造柱墙的稳定性是按类似带壁柱墙的原则处理的。即把墙中的构造柱当作壁柱,并根据墙中构造柱的设置情况进行了理论分析并提出使用要求。
1、带构造柱墙稳定性推导要点
1)构造柱的纵向配筋率较小,当间距0.9~4.8m,墙厚为240mm时,配筋率均小于0.2%(当构造柱配筋为4φ12,柱距0.9、4.8m时的配筋率分别为0.13%和0.03%)。因此这种墙体的纵向弯曲的影响可按无筋砌体考虑;
2)根据压杆稳定理论,无构造柱和有构造柱纵向变形曲线为(图1~2):

图1 墙体构造间图 图2 墙体失稳临界曲线
| (1) |
| (2) |
对两式分别求一阶、二阶导数并根据能量法分析压杆稳定的理论,可推得
| (3) |
令
分别为不设构造柱墙和设构造柱墙的高厚比,可求出设构造柱墙在相同临界荷载下允许高厚比提高系数为
| (4) |
| (5) |
式中:mc——允许高厚比的提高系数。
从式(4)可看出,构造柱对墙体允许高厚比的影响大小,随块材强度等级、砌筑砂浆强度等级,以及构造柱的宽度bc、构造柱的间距而变化的。根据工程中常用的各类砌体块材、砂浆强度等级及构造柱的砼强度等级(C15~C20),可求出相应条件下计算高厚比提高系数mc。从式(4)和计算结果看出,随着块材和砂浆等级的提高,mc值降低,这是自然的。因有较高的砌体强度,其弹性模量与砼的弹性模量比(
)减少,当砌体的弹性模量与砼弹性模量接近或相等时,mc =1,即不提高;另外构造柱间距和截面宽度的比值bc/s也是影响mc的一个重要因素,计算表明当bc/s<1/20时,mc没有明显变化。构造柱宽一般为240mm或180mm,当bc/s=20时,s分别为4.8m或3.6m,最后根据数据分析,得到各种砌体材料时的mc取值:
①对烧结砖(含烧结多孔砖)、蒸压灰砂砖、粉煤灰砖和轻骨料砼小型空心砌块砌体:
| (6) |
②对砼小型空心砌块、粗骨料、半细料石、毛料石及毛石砌体:
| (7) |
③按式(6)、(7)计算的计算允许高厚比提高系数mc列于下表:
表—1 计算允许高厚比提高系数mc
| 公式类别 | bc/s | |||||
| 1/20 | 1/15 | 1/12 | 1/10 | 1/8 | 1/4 | |
| 公式(6) | 1.075 | 1.100 | 1.125 | 1.150 | 1.188 | 1.375 |
| 公式(7) | 1.050 | 1.067 | 1.083 | 1.100 | 1.125 | 1.250 |
由表可见,当bc/s =1/20时构造柱的作用不大,而当bc/s =1/4,尽管构造柱的影响很大,但考虑到构造柱间距太密,不仅施工较繁,经济效果也因之下降,因此规范规定其范围定为1/20~1/4,其平均的mc值对式(6)对应的材料为1.19,对式(7)对应的材料为1.11。即通过在墙体设置构造柱可使允许高厚比[
]提高10%~20%,已接近组合砖砌体构件提高幅度。这是容易理解的,当增大墙中构造柱后不仅增大了其稳定性,而且显著提高了墙体的平面外抗弯能力。
3)若把公式(5)看作构造柱截面面积的放大系数,那么带构造柱墙可看作相应的带壁柱墙。
2、带构造柱墙高厚比验算注意事项
1)按下式验算带构造柱墙的高厚比
≤ | (7) |
式中h为墙厚。
2)构造柱沿墙方向的宽度(bc)不小于180mm,沿墙厚方向的边长不小于墙厚,主筋不小于4ф12,砼强度等级不应低于C15;
3)当构造柱的截面高度(沿墙厚方向的边长)≥1/30柱高和墙厚,且顶部与横向支承结构(楼、屋盖、大梁等)有可靠连接时,可作为带壁柱墙验算柱间墙的高厚比。这和6.1.2条3款中,当圈梁的截面高度与柱间距之比(b/s)≥1/30时,圈梁可视作壁柱间墙或构造柱间墙的不动铰支点的道理是相同的。前者通过设构造柱减小了墙的长度,后者则减少了柱间墙的高度,这种方法对解决较高和较长的墙体,尤其是砌体隔墙的稳定验算提供了理论依据。砌体规范管理组反馈到不少关于这方面应用的例子;
4)设置构造柱对墙体允许高厚比的提高仅适于正常使用阶段;
5)当利用构造柱提高砌体的承载力,设构造柱墙体的构造应按本规范8.2.8的规定;
6)构造柱应为先砌墙后浇砼柱的施工顺序,并与墙体有可靠的连接。
6.2 一般构造措施
本节共有16条主要根据砌体结构的特点,对砌体结构房屋或构件的耐久性和整体稳定性作出的规定。以下择重点或新条文简介:
一、耐久性措施
为保证砌体结构各部分具有较均衡的耐久性等级,因此对处于受力较大或不利环境条件下的砌体材料,规定了比一般条件下较高的材料等级低限,对使用年限大于50年的砌体结构,其材料耐久性等级应更高。国外发达国家的砌体材料强度等级比我国高得多,自然相应的耐久性等级也高。这两条和原规范的相应条文的要求相比虽然高了一些,但限于国情,提高幅度也不大,这和新规范适当提高砌体结构可靠度的耐久性和可靠度、促进砌体材料向高强发展都是有利的。另外,当多孔块体用于有冻胀的环境时,应采取相应的措施(表6.2.2注1):当蒸压粉煤灰砖用于地面以下或基础时,其强度等级不应低于MU15,并应选用一等砖;蒸压灰砂砖、蒸压粉煤灰砖不宜用于有侵蚀介质的地基。
二、整体性措施
砌体结构房屋的整体性取决于砌体、砌体构件的整体稳定性及其与非砌体构件连接的可靠程度。砌体和砌体构件的整体稳定性与非砌体构件主要由其间的传力、连接构造,如设置梁垫或垫梁,以及锚固连接等措施保证。
1、填充墙、隔墙与周边构造的连接(6.2.8条、6.2.11条)
通常作为自承重墙的骨架房屋的填充墙及围护墙,除满足稳定和自承重之外,从使用角度,还应具有承受侧向推力、侧向冲击荷载、吊挂荷载以及主体结构的连接约束作用的能力。因此骨架填充墙及围护墙的材料强度等级不宜过低;与骨架或承重结构的连接,应视具体情况,采用柔性连接、半柔性或半刚性连接和刚性连接。对可能有振动或需抗震设防的骨架或结构的填充墙及围护墙宜优先选用柔性或半柔性连接。
砌块墙与后砌隔墙的连接(6.2.11)是保证后砌隔墙稳定性的主要措施,砌块后砌隔墙的厚度多数为90mm非承重砌块砌筑的,因其墙厚较承重砌块墙(通常为190mm厚)薄得多,相应高厚比很大,自然墙体自身的稳定性成为主要矛盾。由于后砌隔墙是按自承重墙设计的,容易忽略它可能要承受来自侧向的推力、撞击或冲击荷载、吊挂荷载以及地震作用,这可能成为后砌隔墙失稳或倒塌的主要原因,而一旦出现隔墙倒塌也会对生命财产造成一定的损失。因此在《建筑抗震设计规范》GB50011的第13.3节规定了建筑非结构构件的基本抗震措施。尽管未专门列出砌块后砌隔墙的连接构造要求,但其原则是完全适用的,说明后砌隔墙与主体结构连接的重要性。本条的连接方式属柔性连接,除便于承重砌块墙体的排块设计外,对调节较长砌块隔墙的变形(砌体干缩或地震作用)有一定的作用。但对较长的隔墙(如超过4m)除本条的连接外,尚应考虑其它增加稳定和防裂的措施。另外,填充墙连接处的抗裂措施也是当今工程中被看作“质量标准”的一个非常重要的内容,应引起足够重视。下面提供两个示例:
①多层和高层房屋悬挑外廊的填充墙,宜与其上部的梁底脱开或设置柔性垫层(图3)。

图3 悬挑外廊填充墙脱开示意图
该例始于一个高层外悬挑梁刚度偏小,填充墙与梁底塞紧,引起底部填充墙因超载(即上部数十层的墙体卸载),产生压曲破坏。
②框架柱与墙的柔性连接(图4)。既解决施工后砌难,又能避免荷载集中引起自承重墙体承载力不足,设计时应控制悬挑板的刚度。

图4 悬挑外夹心墙示意图
2、砌块砌体的组砌搭接要求(6.2.10)
砼砌块与整浇的砼结构不同,砌体是由块体和砂浆组砌而成的,砌体的强度是通过块体和砂浆的共同工作实现的,而砌体中块体必要的搭接长度是保证砌体强度的关键,反之砌体中的材料就形不成整体,受荷后就会过早地出现解体破坏,其受力机理是砌体中块体的错缝搭接(长度)是维持砌体在竖向荷载(或变形)作用下引起的横向变形应力不致产生过早破坏的基本要素或基本构造措施。按砌体基本力学试验方法标准规定,砌体的基本抗压强度试件,其搭接长度为1/2标准块长(对砌块为190mm),它反映了砌体施工中最普遍的组砌方式,而出现搭长为1/4标准块长(对砌块为90mm)的情况在砌体中占的数量很少,考虑到基本试件比实际墙体的边界条件更不利,因此从总体上讲能保证砌体强度的发挥。如不能满足上述的最小搭接长度,采用本条规定的灰缝钢筋网片也能起到类似的作用,包括抗裂约束作用。当承受较大的竖向荷载时,该部位的拉结网片的竖向间距不应大于200mm。
砌块砌体结构房屋的组砌搭接要求,是通过砌块设计时的墙体排列图来保证的,也是砌块结构标通图包括的重要内容,另外砌块砌体分皮错缝搭砌还能保证砌块孔洞上下贯通,是砌块砌体设置竖向钢筋的最重要的结构功能要求。
3、砌体中设置凹槽和管槽的要求
为防止在墙体中任意开凿沟槽埋设管线引起墙体承载力的降低或承载力不足,本规范6.2.14条规定,当无法避免时应采取必要的措施或按削弱后的截面验算墙体的承载力。这些必要的措施包括允许按规定设置小的凹槽和管槽,而不需计算。而国际标准《无筋砌体结构设计规范》ISO9652-1均有具体规定。
4、夹心墙的构造要求(6.2.15~16)
夹心墙是集承重,保温和装饰于一体的一种墙体,特别适用于寒冷和严寒地区的建筑外墙。国外应用广泛并具有完整的设计和构造规定。我国试验表明[4]按照本规范规定的构造设计的夹心墙具有可靠的建筑结构功能。而保证这些功能的基本要素为墙体的材料、构造方式,包括拉结件的布置及拉结件(筋)的防腐,以及外叶墙的横向支承的间距等。
由内外叶墙和连接这些叶墙的拉结件组成的夹心墙在荷截作用下存在着一定程度的共同工作,国外规范也有相应的计算方法。砌体规范从简化夹心墙的设计仅规定了6.2.15~16条的构造要求。为加深对夹心墙的构造原理的理解,下面简介美国建筑统一规范(UBC)[5]砌体部分中夹心墙设计及构造要求。
1)夹心墙承受的荷载
①每叶墙单独承受作用其上的竖向荷载,即不考虑荷载的相互分配;
②由夹心墙支承的水平构件(如梁、板)产生的重力荷载,应由距该构件中心最近的叶墙承受;绕夹心墙平面外方向的弯距,应按每个叶墙的相对刚度进行分配;
③平行于夹心墙平面的荷载,仅应由受荷载的叶墙承受,不考虑叶墙间的应力传递;
④横向作用于夹心墙平面的荷载,应按所有叶墙的抗弯刚度进行分配。
2)夹心墙的有效厚度
①当夹心墙的两叶墙均受轴向荷载时,每叶墙的有效厚度即为其单叶墙的厚度;
②当仅一个叶墙受轴向荷载时夹心墙的有效厚度,取各叶墙厚度的平方和的开方。
3)夹心墙的拉结件(筋)
①夹心墙单位面积(m2)的钢筋拉结件,对Ф3.8不少于4个,对Ф4.8不少于2.4个;
②拉结件(筋)应沿竖向交错布置,其最大间距,水平为900mm,竖向为600mm,沿洞口周边300mm范围内应附加间距不大于900 mm的拉结件,允许灰缝钢筋网片的横向钢筋作拉结件,但其间距不大于400mm;允许用矩形或Z形拉结件拉结任何块体;
③拉结件应具有足够的长度,以连接(咬合)所有墙片,拉结件在叶墙上的部分应全部埋入砂浆或混凝土中。拉结件的端部应弯折90度,其弯折端的长度不小于50 mm。在叶墙间未埋入砂深或混凝土中的拉结件,应为每端咬合于每个叶墙的单独构件;
④拉结件应能将横向荷载从一叶墙传到另一叶墙;
⑤拉结件或网片应作防腐处理。国外采用重镀锌或不锈钢拉结件;
⑥拉结件和灰缝钢筋的保护层,其最小保护层厚度不小于16mm,墙体和灰缝钢筋间的砂浆或混凝土厚度不小于3mm。
4)夹心墙的横向支承
①夹心墙的横向支承可由交叉墙、墙、壁柱提供;当竖向跨越时,可由楼盖、梁或屋盖提供。梁的横向支承间的净距不应大于其受压截面最小宽度的32倍;
②美国规范未明确夹心墙外叶墙的横向支承高度。而国际标准《无筋砌体结构设计规范》ISO9652-1,明确规定夹心墙外叶墙的横向支承间距不大于12m或100倍 的外叶墙的厚度;
5)夹层宽度大于100mm的夹心墙
规范中规定的夹心墙的夹层厚度不应大于100mm及金属拉结件的规格、数量及间距,是基于过去的经验确定的。当夹层大于100mm时,必须在墙的拉结件设计时,考虑压屈、抗拉、拔出和荷载分布等因素。美混凝土协会和加拿大标准协会已提出了宽夹心墙的建议。
6)夹心墙裂缝控制
夹心墙与一般外墙有两点不同,一是内外叶墙承受力的荷载不同,前者要比后者大得多,因而在竖向有着较大的变形差,也是引起这种墙体开裂的重要原因;二是外叶墙处在室外不利环境中,对内墙提供保护,这也是外叶墙易开裂的另一个原因,国外有专门考虑内外叶墙差异变形的连接构造,如可调拉结件及沿竖向分布的水平控制缝等措施。
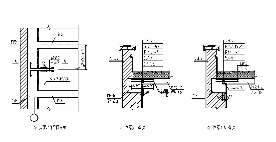
7)本规范夹心墙拉结件的设置,从直径、间距及洞口周边附加拉结件的要求均较UBC的规定更严。如我国砌体规范规定的最大横向支点距离,对6度、7度及8度区,分别为9m、6m和3m,即近似于3层、2层和一个楼层。夹心墙的构造示于图5中。夹心墙横向支承圈梁节能构造示于图6。

a) 拉结件布置 b) 外叶墙的横向支承

(a)矩形 (b)Z形 (c)焊接网片
c) 拉结件型式
图5 夹心墙结构构造
注:图中括号内数字仅用于砼砌块
| |
图6 夹心墙节能构造
8)夹心墙的抗震性能、简化计算及应用注意事项
本规范规定的夹心墙属于非组合作用的夹心墙。两叶墙间的连接属于柔性连接,其刚度很少,因此不能按整体受力考虑。但是通过叶墙间的连接件(网)较大地提高了夹心墙的稳定性(增加了夹心墙的有效厚度),从而相应地提高了叶墙,特别是内叶墙的承载能力,而外叶墙通常是按自承重墙考虑的,因其很薄一般只有90mm~120mm厚,其稳定性主要靠与内叶墙的连接保证。根据夹心墙所受的荷载或叶墙间的传力路线,确保叶墙间连接的可靠性就成为该构件的关键点,尤其在地震作用下。我国的试验[5]也证明了这一点,如在往复荷载作用下,钢筋拉结件能在大变形情况下防止外叶墙失稳破坏。从保温角度,夹心墙叶墙间除连接件外不宜再有相连的构件(竖向的横向支承点除外),也是普遍采用的作法。因此其计算简图或试件也应这样,才能符合夹心墙的实际受力状态(图7)。

a)外叶墙端部无约束 b)外叶墙端部有约束
图7 夹心墙的构造及试件简图
很显然图7b)过分强化了外叶墙在端部的约束作用和其刚度,而按图7a)则外叶墙在纵向刚度要小得多,加之其竖向荷载很小(仅为自重),其变形能力要比前者好,其受到的地震作用较前者小。因此在文献[5]中砌体构件的抗震计算未列出夹心墙(Multiwythe walls)计算要求,而重申了连接构造,如拉结件、灰缝拉结网片、竖向及横向支承的规定。夹心墙的拉结件(网)具有足够的连接和传递横向荷载或作用的能力。根据本规范规定的拉结网片1φ4,横筋间距为400mm,竖向间距为400mm,其灰缝砂浆握裹承担的拉、拔力为3.3KN/m2,网片钢筋承担的抗压力为4.3KN/m2,外叶墙的自重为1.6KN/m2。可见其富裕度非常大,即使将外叶墙自重作为地震作用,也不会将外叶墙拉脱。这也就是本规范未列其计算方法的原因,但对于设计应用提出下列注意事项:
①在抗震计算时可不考虑外叶墙的作用,但偏于安全在计算承重的内叶墙承载力时应计入外叶墙的重力作用;
②夹心墙的有效厚度可取内、外叶墙平方和的开方根;
③楼层悬挑构件,如雨蓬、挑梁其底部应与外叶墙脱开,避免外叶墙受载;
④外叶墙上吊挂的重物,其支承点也应设在内叶墙上;
⑤外叶墙直接受到外界环境影响,对其可能产生的温度或变形裂缝应予以充分注意,如设置较短的水平控制缝和内外叶墙竖向变形引起的水平裂缝,当内外墙采用不同砌体材料时,尚应考虑叶墙砌体附加变形的影响;
⑥夹心墙在楼屋盖处既是夹心墙的横向支点,又是构件的最大热桥部位,因此在保证其横向支托作用的同时,采用减少热桥影响的措施。图6给出了节能圈梁的构造,供设计参考。
6.3 防止或减轻墙体开裂的主要措施
一、防裂措施原则注释
1、裂缝的主要表征
引起砌体结构墙体裂缝的因素很多,既有地基、温度、干缩,也有设计疏忽、不合理,施工质量、材料不合格及缺乏经验等,但最为常见的,也是砌体规范着力要解决的则为“温度裂缝”、“干缩裂缝”,以及“温度和干缩裂缝”。
1)温度裂缝
主要由屋盖和墙体间温度差异变形应力过大产生的砌体房屋顶层两端墙体上的裂缝,如门窗洞边的正八字斜裂缝,平屋顶下或屋顶圈梁下沿砖(块)灰缝的水平裂缝及水平包角裂缝(含女儿墙)。这类裂缝,在所有块体材料的墙上均很普遍,即不论是低干缩性的烧结块材,还是高干缩性的非烧结类块材,裂缝形态无本质区别,仅有程度上不同,而且分布位置也较集中,在房屋上层的两侧。因此《砌体结构设计规范》6.3.2条专门提出了有关防止或减轻端部墙体开裂的构造措施。
2)干缩裂缝
主要由干缩性较大的块材,如蒸压灰砂砖、粉煤灰砖、混凝土砌块,随着含水率的降低,材料会产生较大的干缩变形。干缩变形早期发展较快,以后逐步变慢。但干缩后遇湿又会膨胀,脱水后再次干缩,但干缩值较小,约为第一次的80%左右。这类干缩变形引起的裂缝,在建筑上分布广、数量多,开裂的程度也较严重。最有代表性的裂缝分布为在建筑物底部一至二层窗台部位的垂直裂缝或斜裂缝,在大片墙面上出现的底部重上部较轻的竖向裂缝,以及不同材料和构件间差异变形引起的裂缝等。
3)温度和干缩裂缝
墙体裂缝可能多数情况下由两种或多种因素共同作用所致,但在建筑物上仍能呈现出是温度还是干缩为主的裂缝特征。
4)其它原因引起的裂缝
如设计方案不合理、施工质量和监督失控也常是重要的裂缝成因。
2、裂缝宽度的控制标准问题
1)鉴于裂缝成因的复杂性,按目前条件和本规范提供的措施,尚难完全避免墙体开裂,而是使裂缝的程度减轻或无明显裂缝,故采用了“防止或减轻”墙体开裂的措施的用语;
2)墙体裂缝允许宽度的含意包括:一是裂缝对砌体的承载力和耐久性影响很少,二是人的感观的可接受程度。钢筋混凝土结构的裂缝宽度大于0.3mm时,通常在美学上难以接受,砌体结构也不例外。尽管砌体结构的安全的裂缝宽度可以更大些。但是在住宅商品化的今天,砌体房屋的裂缝,不论是否为0.3mm,只要可见,已成为住户判别“房屋安全”的直观标准。据资料只有德国对砌体结构有成文的规定:对外墙或条件恶劣的部位的墙体,裂缝宽度不大于0.2mm,其它部位裂缝宽度不大于0.3mm。其它发达国家对裂缝控制的要求较高,但未对砌体裂缝宽度规定标准。因此如何面对砌体结构的裂缝,确实是一个较突出和需要认真对待的课题,需要引起足够的重视。
3、关于控制缝(control joint)
本规范6.3.7条提出了设置控制缝的原则规定。控制缝是个外来的概念。它不同于我国规范规定的双墙伸缩缝,而是针对高干缩性砌体材料,把较长的砌体房屋的墙体划分为若干个较小的区段,从5~6m到10多m,这样可使由干缩、温度变形引起的应力或裂缝减小,从而达到可以控制的程度。它是对我国较长的传统的伸缩缝的必要补充。因为即使按修订后缩短的伸缩缝间距(30~40m),也难以控制这类高干缩性材料砌体的裂缝。
但是在房屋某些部位的墙体上设置控制缝,防裂效果较好,而对房屋的整体受力性能影响很小,并可满足抗震设防的要求。这已被我国的理论分析和试验研究得到证实[6][7]。
4、抗裂措施效果评价
引入本节的防止或减轻墙体开裂的主要措施,在基本原理上分别基于防裂概念的“防”、“放”、“抗”的原则。
1)“防”,即适当的屋面构造处理,减少屋盖与墙体的温差,减少屋盖与墙体的变形,效果最佳,通常采取的措施包括:
①保证屋面保温层的性能,采用低含水或憎水保温材料,防止屋面渗漏,南方刚加设屋面隔热及通风层;
②外表浅色处理,外墙、屋盖刷白色,可使其内表面降温,隔热指标可显著提高;
③严格控制块体材料的上墙含水率。
2)“放”,即采用适当措施,允许屋面或墙体在一定程度上自由伸缩,如屋面设置伸缩缝、滑动层、墙体设置控制缝等,都能有效的降低温度或干缩变形应力。
3)“抗”,即通过构造措施,如设置圈梁、构造柱、芯柱、提高砌体强度,加强墙体的整体性和抗裂能力,以减少墙体变形、减少裂缝。是砌体房屋普遍采用的抗裂构构造措施。但是这些措施的效果如何,以及用何种方法对已开裂墙体的修补最有效,下面给出我国最近的研究成果[6],供参考:
①提高砌体材料强度等级,不是最有效的防裂措施。
②芯柱或构造柱加圈梁能加强整体性,提高抗裂能力。
③在关键部位和易裂部位,或已开裂部位采取下列措施有显著效果;
a、玻璃纤维砂浆能提高墙体的抗裂能力两倍。
b、玻璃丝网格布砂浆加芯柱可使墙片的抗裂能力提高3倍。
c、玻璃网格布砂浆抹面的砌块墙的初开荷载可提高1倍。
d、开洞墙片设芯柱和钢筋砼带形成的封闭框架式的墙体的抗裂能力可提高33%~100%。
e、增加芯柱对门窗洞口的墙体抗裂最有效;增加芯柱的墙片温度应力降低21%,而用玻璃网布砂浆后使墙片温度应力减少18%。
④使用高弹涂料也能有效的保护已开裂的墙体不受外界浸蚀。
二、防止温度变化和砌体干缩变形引起的砌体房屋顶层墙体开裂的措施
为防止或减轻由于混凝土屋盖和墙体间的温差变形和墙体干缩变形引起的顶层墙体的开裂,可根据具体情况采取或选择下列措施:
1、根据砌体房屋墙体材料和建筑体型、屋面构造选择适合的温度伸缩区段(规范表6—3—1)。表中对于干缩性较大的材料:石砌体、砼小型砌块砌体房屋的最大伸缩缝间距宜为烧结类块体材料的砌体伸缩缝间距的0.8倍。
2、屋面应设置有效的保温层或隔热层。
3、采用装配式有檩体系钢筋混凝土屋盖或瓦材屋盖。
4、屋面保温层或屋面刚性面层及砂浆找平层设置分隔缝,其间距不大于6m,并与女儿墙隔开,缝宽不小于30mm。
5、在屋盖的适当部位设置分割缝,间距不宜大于20m(图8)。
6、当现浇混凝土挑檐或坡屋顶的长度大于12m,宜沿纵向设置分隔缝或沿坡顶脊部设置分隔缝,缝宽不小于20mm,缝内应用防水弹性材料嵌填(图9)。
7、当房屋进深较大时,在沿女儿墙内侧的现浇板处设置局部分割缝,缝宽不小于20mm,缝内应用防水弹性材料嵌填(图10)。
8、在混凝土屋面板与墙体圈梁间设置滑动层。滑动层可采用两层油毡夹滑石粉或橡胶片;对较长的纵墙可只在两端的2-3个开间内设置,对横墙可只在其两端各1/4墙长范围内设置。
9、顶层屋面板下设置现浇混凝土圈梁,并沿内外墙拉通,房屋两端圈梁下的墙体内适当配置水平钢筋。
10、顶层挑梁与圈梁拉通。当不能拉通时,在挑梁末端下墙体内设置3道焊接钢筋网片或2Φ6钢筋,其从挑梁末端伸入两边墙体不小于1000mm(规范图6.3.2)。
11、在顶层门窗洞口过梁上的水平灰缝内设置2-3道焊接钢筋网片或2Φ6钢筋,并应伸入过梁两端墙内不小于600mm。
12、顶层墙体内适当增设构造柱。
13、女儿墙应设构造柱,其间距不大于4m,构造柱应伸入女儿墙顶,并与现浇混凝土压顶梁浇在一起。
三、防止或减轻房屋其它有关部位墙体开裂的构造措施
根据砌体材料、结构形式选择或采用下列构造措施:
(一)增强砌体抗裂能力的措施
1、设置基础圈梁或增加其刚度。
2、在底层窗台下砌体灰缝中设置3道2Φ4焊接钢筋网片或2Φ6钢筋;或采用现浇混凝土配筋带或窗台板,灰缝钢筋或配筋带不少于3Φ8并应伸入窗间墙内不小于600mm。
3、在墙体转角和纵横墙交接处沿竖向设置拉结钢筋或钢筋网片。对砖砌体拉结筋的数量每120mm厚墙不少于1Φ6,竖向间距不大于500mm;对砌块砌体拉结网片不小于2Φ4,竖向间距不大于600mm。拉结钢筋和钢筋网片埋入砌体的长度,从转角墙或交接墙内侧算起每边不小于600mm。
4、对灰砂砖、粉煤砖砌体房屋尚宜在下列部位加强:
1)在各层门窗过梁上方的水平灰缝内及窗下第一和第二道水平灰缝内设置焊接钢筋网片或2Φ6钢筋,其伸入两边窗间墙内不小于600mm。
2)当实体墙的长度大于5m,在每层墙高中部设置2~3道焊接钢筋网片或3Φ6的通长水平钢筋,其竖向间距为500mm。
5、对混凝土砌块砌体房屋尚宜在下列部位加强:
1)在门窗洞口两侧不少于一个洞口中设置不小于1Φ12钢筋,钢筋应在楼层圈梁或基础梁锚固,并采用不低于Cb20混凝土灌实;
2)在顶层和底层设置通长钢筋混凝土窗台梁,窗台梁的高度宜为块高的模数,纵筋不少于4Φ10,箍筋Φ6@200、C20混凝土,其它各层门窗过梁上方及窗台下的配筋要求,宜符合本节4.1)的要求;
3)对实体墙的长度大于5m的砌块,沿墙高400mm配置不小于2Φ4通长焊接网片,网片横向钢筋的间距为200mm,直径同主筋。
4)在门窗洞口两边墙体的水平灰缝中,设置长度不小于900mm,竖向间距为400mm的2Φ4焊接网片。
6、灰砂砖、粉煤灰砖砌体宜采用粘结性好的砂浆,混凝土砌块应采用专用砂浆,其强度等级不宜低于Mb10。
(二)在墙体中设置竖向控制缝(图11)
本措施可用于所有材料的砌体,但更适于干缩变形较大的灰砂砖、粉煤灰砖、混凝土砌块等砌体结构的裂缝控制,房屋墙体控制缝设置的位置和间距可按下列规定采用:
1、在建筑物墙体高度或厚度突然变化处,在门窗洞口的一侧或两侧设置竖向控制缝;并宜在房屋阴角处设置控制缝;
2、对3层以下的房屋,应沿墙体的全高设置,对大于3层的房屋,可仅在建筑物的1~2层和顶层墙体的上列部位设置;
3、控制缝在楼、屋盖的圈梁处可不贯通,但在该部位圈梁外侧宜留宽度和深度均为12mm的槽作成假缝,以控制可预料的裂缝;
4、控制缝的间距不宜大于9m;落地门窗口上缘与同层顶部圈梁下皮之间距离小于600mm者可视为控制缝;建筑物尽端开间内不宜设置控制缝;
5、控制缝可作成隐式,与墙体的灰缝相一致,控制缝的宽度宜通过计算,且不宜大于12mm。控制缝应用弹性密封材料填缝。
a)预制板屋盖分割缝 b)现浇板屋盖分割缝
图8 屋盖分割缝

a) 女儿墙分割缝

b) 坡屋顶分割缝
图9 女儿墙、坡屋顶分割缝

图10 沿女儿墙屋盖处局部分割缝

图11 在墙体中设置竖向控制缝
参考文献
1.施楚贤.砌体结构理论与设计.中国建工出版社,1992
2.建筑抗震设计规范.GBJ11-89/GB50011-2001
3.刘立新等.带构造柱墙的高厚比验算.世纪之交砌体结构的新发展—99′全国砌体结构学术论文集.杭州,1999.9
4.唐岱新等.空腔墙结构性能研究. 现代砌体结构.2000年全国砌体结构学术会议论文集.中国建工出版社,2000.12
5.Masonry codes and specifications,1994 UBC—Masonry
6.翟希梅.砌块空腔墙体与约束配筋砌块结构的抗震性能研究.哈尔滨工业大学.工学博士论文,2001.6
7.马晓儒.多层砌体房屋墙体变形机理及防治的试验研究.哈尔滨工业大学.工学博士论文,2001.8
来源: 《建筑中文网》.原文网址:http://www.pipcn.net/research/200603/8519.htm
也许您还喜欢阅读:

≤
